随着数据需求的增加,服务器和数据中心的需求也在增加,因此用电需求也随之增加。行业趋势表明,2020 年每个机架的功率为 4kW,到 2025 年将高达 20kW。
鉴于供数据中心和服务器使用的物理空间有限,服务器电源架构产生了高功率密度要求,即在更小的区域内提供更多的功率。提高服务器电源的效率还可以降低冷却成本。
我们周围的一切都急需获得数据并由数据驱动,所有这些数据都由数据中心的服务器存储和处理,如图 1 所示。

图 1:数据连接的生态系统
服务器通常具有可扩展性和热插拔功能,以满足不同的处理要求并保持高系统可用性。为了实现无缝热插拔功能,服务器主板和配电板采用热插拔控制器或电子保险丝。服务器电源中的电子保险丝等元件需要提供更高电流,以满足持续增长的服务器用电要求。热插拔和电子保险丝等保护器件也需要处理高峰值电流,以便与服务器中现代微处理器的更高峰值处理能力匹配。图 2 显示了典型的服务器电源架构。

图 2:典型的服务器电源架构
以往,大功率服务器设计包括带有多个金属氧化物半导体场效应晶体管 (MOSFET) 的热插拔控制器。但是,服务器电源和功率密度要求呈指数级增长。为了满足这些需求并简化这些设计,可考虑在服务器电源架构中使用 TPS25985(80A 峰值)和 TPS25990(60A 峰值,具有 PMBus 接口)电子保险丝。TPS25985 和 TPS25990 可分别支持 60ADC 和 50ADC,并分别具有高达 60A 和 50A 的可调电流限值。可以堆叠无数个 TPS25985 和 TPS25990 电子保险丝以实现更高的电流。
实现高功率密度
功率密度是现代服务器电源装置 (PSU) 的一项必备要求。新一代服务器 PSU 的额定功率范围为 3kW(12V 时为 250A)。选择电子保险丝时,必须能够以更小的尺寸提供更高的电流,这一点非常重要。TPS25985 采用 4.5mm×5mm 封装,可提供 80A 峰值电流。图 3 显示了 TI 的一些电子保险丝。

图 3:TI 电子保险丝的功率密度发展
通过集成 MOSFET、电流监视器、比较器、有源电流共享和温度监视器,TPS25985 和 TPS25990 电子保险丝显著减小了印刷电路板或印刷线路板的总面积。连接多个 TPS25985 和 TPS25990 电子保险丝时,电路板显著减小,功率密度提高了数倍。图 4 显示了 TPS25985 和 TPS25990 与市场上其他电子保险丝相比的电流密度。

图 4:电流和功率密度比较
电流共享和电流监测器精度
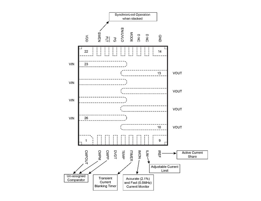
热插拔控制器无法非常精确地控制多个并联 MOSFET 的栅极;因此,并联 MOSFET 的电流共享并不准确。精密放大器有助于实现高电流共享精度和电流监测器精度,但添加它们会增加整个解决方案的尺寸。测量 MOSFET 的内核温度具有挑战性,因此无法保障其在瞬态和稳态条件下的热保护性能。图 5 突出显示了 TPS25985 的关键引脚和功能。

图 5:TPS25985 引脚排列,突出显示了主要的差异化特性
TPS25985 和 TPS25990 电子保险丝集成了有源电流共享和直接获取 MOSFET 内核参数(电压、电流、温度)的功能,可以精确控制所有并联连接的电子保险丝栅极,并精确监测集成 FET 的内核温度。与不具备有源电流共享的电子保险丝相比,TPS25985 和 TPS25990 使设计工程师能够优化电子保险丝的数量和系统的性能。
集成的电流监测器可使用 PSYS/PROCHOT 更大限度地提高服务器平台的计算吞吐量和电源利用率,从而改进该平台的电源管理。这些特性还有助于优化前端交流/直流电源,从而优化系统成本。此外,可调节的瞬态电流消隐计时器可通过避免干扰性跳变来提高系统可靠性和总体可用性。
远程监控
TPS25990 为系统增加了 PMBus 接口功能。TPS25990 支持具有可调接通延迟的单命令下电上电,从而允许系统设计工程师远程对系统进行定序和复位。TPS25990 还提供黑盒功能,以相对时间戳记录其中七个事件。TPS25990 包含高速模数转换器,使用户能够绘制其选择的一个信号,充当数字示波器的作用。TPS25990 的 GUI 及其他特性不仅可以帮助设计工程师缩短总开发时间,还可以快速识别和解决通常很难重现和排查的现场问题。
散热注意事项
服务器电源系统在宽环境温度范围(–40?C 至 85?C)内运行。热插拔控制器或电子保险丝会遇到更高的环境温度。因此,当小型封装产生大电流时,电源设计工程师需要关注这些器件的热性能。TPS25985 和 TPS25990 电子保险丝能够在 125?C 的结温下工作,从而缓解了这种担忧。TPS25985 和 TPS25990 分别提供 0.59mΩ 和 0.79mΩ 的 RDS(on);RDS(on) 在工艺、电压和温度范围内的变化不大。因此,这些电子保险丝的自发热非常低,工作温度范围很广,而不会牺牲降额。图 6 显示了 TPS25985 的外壳温度。

图 6:VIN = 12V、IOUT = 50A、Tamb = 25°C 时的 TPS25985 外壳温度
结语
设计工程师可以通过在服务器电源架构中使用 TPS25985 和 TPS25990 电子保险丝来缩短开发时间和降低设计成本。电子保险丝的低 RDS(on) 降低了系统中的功率损耗,帮助数据中心实现其效率目标。 更高的功率密度提高了数据中心的处理能力,并为最终用户提供了在多个数据连接器件之间的无缝体验。电子保险丝具备更好的诊断、扩展和配置功能,可以帮助数据中心更大限度地减少停机时间,从而保持服务的连续性和为客户提供高百分比正常运行时间保证的能力。
来源:TI