Mini-Circuits的LFCG-225+是一种微型低温共烧陶瓷(LTCC)低通滤波器,具有DC至225 MHz的通带,支持各种应用。由于其坚固的单片结构,该型号在宽带上提供了0.8 dB的典型插入损耗。该滤波器采用小的0805陶瓷外形,非常适合密集的信号链PCB布局,可以补充MMIC的尺寸和性能。LTCC制造工艺确保了最小的射频性能变化,同时提供了一种非常适合高湿度和高温极端环境的产品。

规格参数
产品:Low Pass Filters
频率:225 MHz
频率范围:DC to 225 MHz
端接类型:SMD/SMT
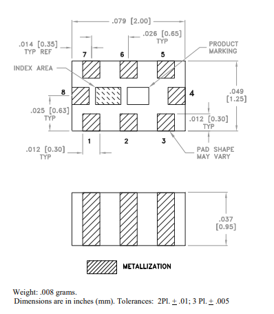
封装 / 箱体:0805 (2012 metric)
最小工作温度:- 55 C
最大工作温度:+ 125 C
系列:LFCG
封装:Reel
封装:Cut Tape
商标:Mini-Circuits
介入损耗:1.6 dB
特性
典型插入损耗。0.8分贝
阻带抑制,典型。51分贝
典型通带回波损耗。21分贝
y0805表面贴装封装
功率处理:3.5 W
应用
谐波抑制
VHF/UHF发射机/接收机
测试与测量
电信和宽带无线应用
卫星通信调制解调器
尺寸图

