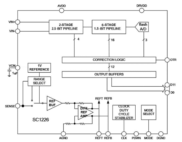
SC1226 是采用多级差分流水线架构,内置高性能采样保持电路和片内基准电压源的单通道、12位、80MSPS 模数转换器(ADC),采用 3V 模拟电源供电,一个单独的输出电源能驱动 2.1V 至 3.6V 逻辑电路。
SC1226 专为数字化高频宽动态范围信号而设计,非常适合要求苛刻的成像和通信应用。在 80MHz 采样下 70.65dBFS 信噪比和 74.4dBFS 无杂散动态范围。直流规格包括 ±0.6LSB INL(典型值),±1.6 LSB DNL(典型值) 和无漏失码。 输入端参考噪声很低,仅为 0.25LSBRMS。
主要性能
◼ 3V 电源供电
◼ 灵活输入范围:1VP-P to 2VP-P
◼ 低功耗:218mW (80MSPS)
◼ 信噪比 (SNR):70.65dBFS (80MSPS)
◼ 无杂散动态范围 (SFDR):74.4dBFS (80MSPS)
◼ 微分非线性 (DNL):±0.6LSB (典型值)
◼ 片内基准电压源和采样保持电路
◼ 输入端参考噪声:0.25LSBRMS
◼ 偏移二进制或二进制补码数据格式
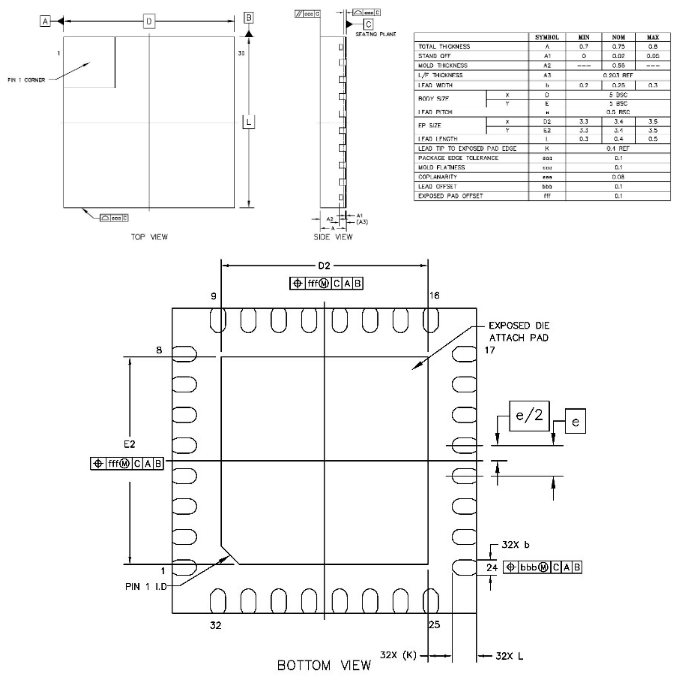
◼ QFN-32 封装 5mm×5mm
功能模块示意图

外形尺寸图
