Mini-Circuits的HSWA2-63DR+是一款MMICSPDT吸收开关,其内部驱动器设计用于100MHz至6.0GHz的宽带操作,支持许多需要在宽频率范围内实现高性能的应用。该型号在4x4mm20引脚微型MCLP封装中提供了出色的隔离、快速的开关速度和高线性度。它采用独特的硅基CMOS工艺生产,具有GaAs的性能和传统CMOS器件的优点。HSWA2-63DR+提供高水平的ESD保护和出色的可重复性。

特性
•高隔离,典型值69dB。1GHz
•插入损耗低,典型值为0.95dB。1GHz
•高输入IP3,典型值65dBm。
•快速切换时间,典型值为300ns。
•低电流消耗,典型值为120μA。
•宽带,100-6000MHz,可在1kHz-6000MHz以上使用
常见应用
•防御
•测试和测量
•开关矩阵
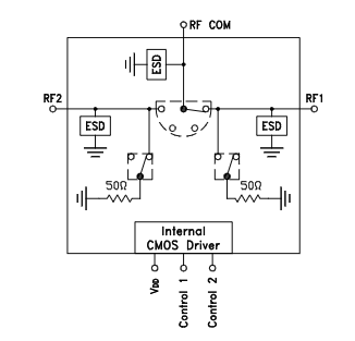
简化示意图和焊盘说明



特性/应用测试电路

点击购买:HSWA2-63DR+