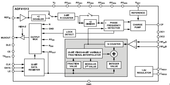
ADF41513 是一款超低噪声频率合成器,可用于在无线接收器和变送器的升频转换和降频转换部分实施高达 26.5 GHz 的本地振荡器 (LO)。

ADF41513 的设计基于高性能硅锗 (SiGe) 双极互补金属氧化物半导体 (BiCMOS) 工艺,可实现 −234 dBc/Hz 的归一化相位本底噪声。相位频率检波器 (PFD) 的工作频率高达 250 MHz(整数 N 模式)/125 MHz(小数 N 模式),可实现更高的相位噪声和杂散性能。使用 49 位分值时,可变模数 Δ-Σ 调制器可以实现极精细的分辨率。ADF41513 可用作整数 N 锁相环 (PLL) 或小数 N PLL,可使用固定模数以实现亚赫兹频率分辨率或使用可变模数以实现亚赫兹精确频率分辨率。
频率合成器与外部环路滤波器和压控振荡器 (VCO) 配合使用可实现完整的 PLL。26.5 GHz 带宽意味着不再需要倍频器或分频器级,从而简化了系统架构并降低了成本。ADF41513 采用紧凑式 24 引脚 4 mm × 4 mm LFCSP 封装。
规格参数
最大输入频率:26.5 GHz
电源电压-最小:3.135 V
电源电压-最大:3.465 V
最小工作温度:- 40 C
最大工作温度:+ 105 C
安装风格:SMD/SMT
工作电源电流:95.1 mA
单位重量:10.291 g
特性
• 1 GHz 至 26.5 GHz 带宽
• 超低噪声 PLL
• 整数 N:−234 dBc/Hz,小数N:−231 dBc/Hz
• 最大高 PFD 频率
• 整数 N:250 MHz,小数N:125 MHz
• 25 位固定/49 位可变小数模数
• 单端参考输入
• 3.3 V 电源,3.3 V 电荷泵
• 集成 1.8 V 逻辑能力
• 相位再同步
• 可编程电荷泵电流:16× 范围
• 数字锁定检测
• 3 线串行接口,具有寄存器回读选项
• 硬件和软件关断模式
应用
测试设备和仪器
无线基础设施
微波点对点和多点无线电
甚小口径终端(VSAT)无线电
航空航天和国防
功能框图

引脚图
