AD9546 采用数字化时钟技术,可在系统中高效传输和分配时钟信号。数字化时钟具有设计灵活性,且可使用可扩展的时钟传输系统,并具有良好的相位(时间)对齐控制。这些特性使 AD9546 成为必须满足 ITU-T G.8273.2 D 类的 IEEE® 1588™ 边界时钟的同步要求的网络设备设计的首选。数字时钟还与要求将频率和相位精确传输到多个使用端点的应用有关(例如,将同步系统参考 (SYSREF) 时钟分配到 ADC 通道阵列)。
AD9546 支持现有和新兴的国际电信联盟 (ITU) 标准,通过服务提供商分组网络,可交付频率、相位和时刻,这些分组网络包括 ITU-G.8262、ITU-T G.812、ITU-T G.813、ITU-T G.823、ITU-T G.824、ITU-T G.825 和ITU-T G.8273.2。

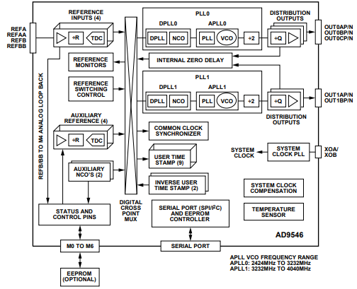
将 AD9546 的 10 个时钟输出同步为多达八个输入基准电压源中的任意一个。数字锁相环 (DPLL) 减少了与外部基准电压源相关的时序抖动,而模拟锁相环 (APLL) 提供了具有低抖动输出时钟的频率转换。数字控制的环路和保持电路即使在所有参考输入失败时仍可持续产生低抖动输出信号。
AD9546 提供 48 引脚 LFCSP (7 mm × 7 mm) 封装,可在 −40°C 至 +85°C 的温度范围内工作。
规格参数
输出端数量:10 Output
最大输出频率:500 MHz
电源电压-最小:1.7 V
电源电压-最大:1.89 V
最小工作温度:- 40 C
最大工作温度:+ 85 C
安装风格:SMD/SMT
工作电源电流:325 mA
Pd-功率耗散:760 mW
特性
• 数字时钟传输子系统
• 9 个独立的 UTS 块(时间戳出口)
• 2 个独立的 IUTS 块(时间戳入口)
• 双 DPLL 可同步 1 Hz 到 750 MHz 物理层时钟,可在提供频率转换的同时去除噪声基准电压源的信号抖动
• 符合 ITU-T G.8262 和 Telcordia GR-253 标准
• 支持 Telcordia GR-1244、ITU-T G.812、ITU-T G.813、ITU-T G.823、ITU-T G.824、ITU-T G.825 和 ITU-T G.8273.2
• 针对低至 50 ppb(5 × 10−8) 的频率偏移,可进行持续频率监控和基准电压源验证
• 两个 DPLL 都配有带有 24 位可编程模块的 24 位小数分频器
• 可编程数字环路滤波器带宽:0.0001 Hz 至 1850 Hz
• 两个独立的可编程辅助 NCO(1 Hz 至 65,535 Hz,分辨率 < 1.37 pHz),适合 PTP 应用中的 IEEE-1588 第 2 版伺服反馈
• 自动和手动保持和基准电压源切换,实现零延迟、无中断或相位增建
应用
• 5G 时序传输高精度同步
• 全球定位系统 (GPS)、精确时间协议 PTP (IEEE 1588) 和同步以太网 (SyncE) 抖动滤除和同步
• 光传送网络 (OTN)、同步数字体系 (SDH) 以及宏基站和小蜂窝基站。小型基站时钟(基带和射频)
• Stratum 2、Stratum 3e 和 Stratum 3 保持、去除信号抖动和相位瞬态控制
• JESD204B 支持模数转换器 (ADC) 和数模转换器 (DAC) 时钟
• 运营商级以太网
功能框图

引脚图
