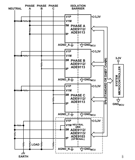
ADE9113 是精密同步采样 Σ-Δ 模数转换器 (ADC),适用于基于分流的直流和多相电能计量应用。ADE9113 集成了经过安全认证的信号和电源电气隔离,具有三个同时采样的全差分 24 位Σ-Δ ADC 通道。ADE9113 均包含一个高增益电流通道,最适合与分流电阻一起用作电流传感器。可同步多个 ADE9113 套件,以便同时采样和提供相干输出。

在 4 kSPS 的采样率下,电流通道 ADC 提供 86 dBFS 的信噪比 (SNR),超过 1.65 kHz 的信号带宽和 13 ppm/°C 的典型增益漂移,使精度可以达到 0.2 类。电压 ADC 在相同的采样率和带宽下提供 91 dBFS 的 SNR。电流通道(IP 和 IM)的高增益有助于使用较低电阻的分流器,以减少因发热而产生的损耗。2 nV/°C 的低失调漂移提供直流计量所需的性能。
ADE9113 可节省系统成本并提高可靠性。主要ADE9113 使用单个晶体可驱动最多三个额外的ADE9113 的时钟。双向串行端口接口 (SPI) 支持菊花链功能,允许访问所有寄存器,同时减少所需的微控制器引脚数。28 引脚 SOIC_W_FP 支持更紧凑的布局。通过双向循环冗余校验 (CRC) 确保有效的数据传输,并且 IRQ 引脚会向系统发出严重故障警报。在添加了高压电容器的 2 层印刷电路板 (PCB) 上以及在具有内部拼接电容器的 4 层 PCB 上,ADE9113 通过了 CISPR 32 B 类辐射认证。
特性
• 3 (ADE9113) 通道隔离、同步采样 Σ-Δ ADC,带集成的 isoPower、隔离式 DC/DC 转换器
• IRQ 硬件引脚和寄存器用于故障检测和实现稳健性•高达 32 kSPS 的采样率•高达 95 dB 的 SNR•电流通道的峰值模拟输入电压范围:±31.25 mV
• 电压通道的峰值单端模拟输入电压范围:±500 mV
应用
• 基于分流的多相仪表
• 电动汽车供电设备
• 直流电表
•电能质量监控
•太阳能反相器
• 过程监控
• 保护设备
•隔离式传感器接口
典型应用电路

引脚图
