HMC321ALP4E是一款宽带非反射GaAs SP8T开关,采用低成本无引脚表贴封装。该开关频率范围为DC至8 GHz,具有高隔离和低插入损耗。该开关还集成了板载二进制解码电路,将所需逻辑控制线减至三条。该开关采用0/+5 V正控制电压工作,所需固定偏置为+5 V。该开关适用于50 Ω或75 Ω系统。

规格参数
最小频率:0 Hz
最大频率:8 GHz
介入损耗:2.7 dB
关闭隔离—典型值:28 dB
最小工作温度:- 40 C
最大工作温度:+ 85 C
安装风格:SMD/SMT
空闲时间—最大值:150 ns
运行时间—最大值:150 ns
工作电源电流:5 mA
电源电压-最大:5.5 V
电源电压-最小:4.5 V
单位重量:41.800 mg
点击购买:HMC321ALP4ETR
特性
• 宽带性能:DC - 8 GHz
• 高隔离度:>30 dB (6 GHz)
• 低插入损耗:2.5 dB (6 GHz)
• 集成式正电源3:8 TTL解码器
• 24引脚4×4mm QFN封装:9 mm2
应用
此开关适用于DC-8.0 GHz 50欧姆或75欧姆系统:
•宽带
•光纤
•切换滤波器组
•8 GHz以下无线
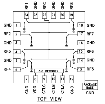
引脚图
