一、定义
ADF4155 配合外部环路滤波器、外部压控振荡器(VCO)以及外部参考频率,即可构成 fractional-N 或 integer-N 锁相环(PLL)频率合成器。
支持外部 VCO,最高工作频率 8 GHz。
高分辨率可编程模数,可实现 0 Hz 误差的精确频率合成。
VCO 频率可 1/2/4/8/16/32/64 分频,最低输出频率 7.8125 MHz。
芯片所有寄存器通过简洁的 3 线串行接口控制;典型供电电压 3.3 V ± 5%,不用时可掉电。
封装为 24 引脚 4 mm × 4 mm LFCSP。
二、具备的特征
输入频率范围:500 MHz至8000 MHz
分数N合成器和整数N合成器
相位频率检测器(PFD)高达125 MHz
高分辨率38位模数
独立的电荷泵电源(VP)允许在5 V系统中扩展调谐电压
可编程除以1、2、4、8、16、32或64输出
差分和单端参考输入
电源:3.3V±5%
逻辑兼容性:1.8V
4/5或8/9的可编程双模预分频器(P)
可编程输出功率电平3线串行接口
模拟和数字锁检测
三、常见的应用
无线基础设施(W-CDMA、TD-SCDMA、WiMAX、GSM、PCS、DCS、DECT)
点对点/点对多点微波链路
测试设备
无线局域网、有线电视设备
时钟产生
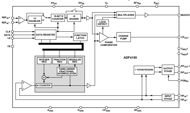
四、ADF4155功能框图
