CAN芯片的发展可以追溯到上世纪80年代,最初主要应用于汽车制造中的控制系统。随着科技的不断进步,CAN芯片的应用范围逐渐扩大,如今已在电梯制造厂,纺织机器制造厂,智能工厂得到广泛应用。

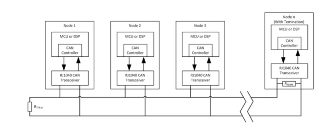
RJ1040是一款应用于CAN协议控制器和物理总线之间的接口芯片,完全符合ISO11898标准。具有在总线与 CAN 协议控制器之间进行差分信号传输的能力,数据传输速率高达 1Mbps。与TJA1040引脚兼容,具备出色的EMC特性。在低功耗的待机模式时,可通过总线远程唤醒。在不上电环境下有理想的无源性能。
主要特性
供电电压:4.5V~5.5V。
总线容错电压:-50V ~50V 。
传输速率:1Mbps。
节点个数:110个。
通信方式:半双工。
完全兼容ISO11898标准。
具有总线唤醒功能的低功耗待机模式。
ESD(HBM):总线端口±12KV,所有引脚±8KV。
IEC61000-4-2:空气放电15KV,接触放电±6KV。
具有过温保护。
工作温度:-40 ~125℃。
封装:SOP8-L。
产品应用
工业自动化
电力检测系统
医疗设备
汽车电子
仪器仪表
轨道交通
典型CAN网络应用图

免责声明:本文为转载文章,转载此文目的在于传递更多信息,版权归原作者所有。本文所用视频、图片、文字如涉及作品版权问题,请联系小编进行处理。