相位噪声对于电子战和5G 通信等需要精确频率稳定性的系统至关重要。振荡器通常是信号链相位噪声性能的决定因素。然而,在极低相位噪声系统中,放大器相位噪声的贡献被考虑在内。本技术说明探讨了放大器的相位噪声贡献,展示了:
放大器仅对信号链贡献 1/f 和白 PM 噪声。
1/f 噪声在大约 1-100 kHz 偏移频率处很明显。
放大器 1/f 噪声串联线性相加,并联线性相减。
振荡器高阶相位噪声在<1 kHz 偏移频率处占主导地位。
相位噪声区域
典型的相位噪声测量分为多个区域,每个区域都归因于不同的物理现象。图 1 确定了相位噪声区域及其相应的机制,并显示了典型的振荡器和放大器相位噪声趋势。高阶(1/f4、1/f3 和 1/f2)相位噪声是由振荡器的腔效应引起的,而不是由放大器产生的。

图 1:典型振荡器和放大器相位噪声趋势与偏移频率。用相应的物理机制标记的相位噪声区域。
在Rodolphe Boudot 和 Enrico Rubiola的文章“ RF 和微波放大器中的相位噪声”中,放大器显示了一个相位噪声频谱,该频谱遵循 1/f 噪声趋势,然后是白色 PM 噪声本底。放大器的白色 PM 本底噪声 b o由下式控制,

其中 F 是大信号放大器噪声系数,k 是玻尔兹曼常数,T o是器件温度,P o是放大器输入功率。一系列级联放大器的白噪声贡献可以从弗里斯公式计算出来。
Boudot 和 Rubiola 还证明,放大器通过对晶体管的固有 1/f 噪声进行上变频,将 1/f 噪声添加到系统的相位噪声中。级联放大器 1/f 相位噪声随着添加到链中的每个附加放大器线性增加。因此,串联放大器每增加一倍,1/f 相位噪声贡献将增加 +3 dB。并联放大器表现出相位噪声的线性降低。类似地对应于并联放大器每增加一倍,降低 -3 dB。
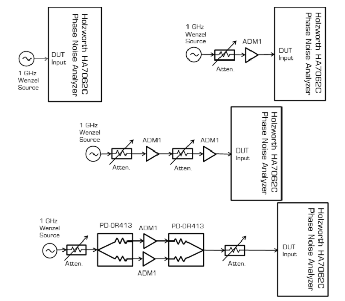
测量设置
进行绝对和残余相位噪声测量以证明放大器相位噪声对低相位噪声系统的贡献。绝对测量显示信号链的总相位噪声,而残余测量是对放大器相位噪声贡献的测量。残余测量与使用两个内部混频器测量的振荡器的相位噪声交叉相关。四种绝对测量和残差测量设置分别如下图 2 和图 3 所示。在所有情况下都使用衰减器来控制每个放大器的输入功率。控制每个放大器中的压缩电平对测量至关重要,因为压缩时噪声系数特性会发生变化,因此相位噪声性能也会发生变化。

图 2:单独的振荡器(左上)、振荡器 + 放大器(右上)、振荡器 + 2 个串联放大器(中)和振荡器 + 2 个并联放大器(下)。

图 3:放大器残余相位噪声测量设置。
相位噪声测量

图 3:绝对相位噪声测量:仅振荡器(蓝色)、振荡器 + 单放大器(红色)、振荡器 + 2 个串联放大器(黑色)、振荡器 + 2 个并联放大器(黄色)。放大器残余相位噪声测量(绿色)。
图 3 验证了 Boudot 和 Rubiola 的结果。低频高阶相位噪声区域(<1 kHz 偏移)主要由振荡器相位噪声控制,并且不存在于放大器残余测量中。与该区域内振荡器的绝对相位噪声相比,放大器的残余相位噪声为 ?50 dB – ?10 dB。因此,在单放大器、串联放大器和并联放大器的情况下,测得的低于 1 kHz 偏移的相位噪声与振荡器相位噪声无法区分。这支持了放大器不会向该系统添加任何更高阶相位噪声的说法。
当放大器被添加到振荡器链中时,在大约 1 kHz – 100 kHz 偏移频率处显示出明显的相位噪声增加。该区域的相位噪声在所有情况下都表现出大约 ?10 dB/decade 的斜率,这是 1/f 噪声特征。放大器的 1/f 贡献开始将相位噪声添加到 ~1 kHz – 5 kHz 偏移频率的绝对测量中,其中放大器的残余相位噪声幅度在振荡器相位噪声的 ~5 dB 范围内。然后,随着放大器残余相位噪声的幅度变得大于振荡器相位噪声(~5 kHz – 100 kHz),放大器在绝对测量中占主导地位。
在单个、串联和并联放大器的情况下分析了 10 kHz 偏移处的相位噪声值。振荡器相位噪声在每种情况下都被线性减去,以从各自的放大器链中提取贡献。下面的表 1 显示了 10 kHz 偏移时的相位噪声以及一个放大器和两个串联/并联放大器之间的相应差异。预计从单个放大器到两个串联放大器的相位噪声会增加 2.9 dB。单例和并行例之间测得的 2.0 dB 降低也在合理范围内。降低 3 dB 只是理论上的,因为它假设无损耗功率分配器和相同的输入功率、增益和噪声系数。因此,预计在实践中会降低接近 2-2.5 dB。
表 1:针对振荡器本底噪声调整的单放大器和级联放大器相位噪声,并在 10 kHz 偏移频率处相应增加。
测量单 ADM12 个 ADM1 串联2 个 ADM1 并联
10 kHz 偏移处的绝对相位噪声,针对振荡器相位噪声 (dBc/Hz) 进行了调整-153.2-150.3-155.2
来自单放大器外壳的 Delta–+2.9 分贝-2.0 分贝
放大器的白色 PM 本底噪声贡献不如 1/f 噪声贡献重要,因为它比振荡器的本底噪声低约 5 dB。然而,在 500 kHz - 1 MHz 偏移频率处增加 0.7 dB 中值表明,在比较单个放大器和级联放大器的情况时,白色 PM 本底噪声会增加。支持放大器对振荡器的相位噪声响应贡献白 PM 噪声的说法。
关键要点
这些测量结果向读者证实,放大器对系统的相位噪声贡献了 1/f 噪声和远离白噪声,而没有其他高阶噪声机制。放大器的 1/f 噪声串联线性增加,并联线性降低。因此,在链中使用m个放大器时,串联 1/f 相位噪声增加+3log 2 (m) dB,并联 1/f 相位噪声减少-3log 2 (m) dB. 根据 Friis 公式添加白噪声。还值得一提的是,该测量集是使用非常低的相位噪声振荡器完成的,实际上,放大器的贡献要对系统的相位噪声性能产生任何影响,需要非常低的相位噪声振荡器。
在此处查看我们的全系列放大器,包括我们新的 APM 系列低相位噪声 HBT 放大器。
注意:以前的帖子
下面是上一篇试图证明/反驳放大器 1/f 相位噪声贡献的帖子。如前所述,所使用的设备没有提供足够低的本底噪声。这导致放大器 1/f 的贡献在相位噪声测量中不明显。使用上面获取的新数据,很明显,在 Boudot 和 Rubiola 的文章中关于放大器 1/f 相位噪声的结果是准确且可重复的。
相位噪声,尤其是放大器噪声,一段时间以来一直是 Ferenc 的宠儿。这源于这样一个事实,正如我将在以后的文章中详细介绍的那样,无源硅肖特基二极管混频器几乎不会增加噪声。通常,当客户在转换中发现过多的噪声时,这是因为 LO 噪声传输到 IF/RF 输出。我们发现 Rodolphe Boudot 和 Enrico Rubiola 最近发表的一篇名为“RF 和微波放大器中的相位噪声”的文章(IEEE Trans. Ultrasonics、Ferroelectrics 和 Frequency Control,第 59 卷,第 12 期,2012 年 12 月),其中显示了图表不同输出功率放大后振荡器的相位噪声。我们决定进行同样的测量。在我们的实验中,我们采用参考 80 MHz 振荡器(Wenzel 低相位噪声晶体)并测量相位噪声。然后我们将信号衰减 50 dB 并将其放大 50 dB。输入本底噪声为 -159.4 dBm/Hz,输出为 106.5 dBm/Hz。本底噪声增加是放大器放大和噪声系数的结果。相位噪声图如下所示,以及一条额外的线显示振荡器的相位噪声,其恒定噪声水平等于添加到它的放大器的本底噪声。

如您所见,放大信号的相位噪声与添加了白噪声的振荡器的相位噪声之间几乎没有差异。因此,问题是,放大器会增加闪烁噪声吗?在载波附近的频率范围内,我们几乎看不到任何噪声添加。这表明,我们使用的放大器(类似于我们的 T3 驱动放大器的 Centellax 宽带放大器)的闪烁噪声添加量至少非常低。如此之低,以至于我们很难相信它会增加闪烁噪声。
更正 (1/14/20)
当我们最初进行这个实验时,我们受到了测试设备(Agilent E4448A 频谱分析仪)的限制。因此,我们无法看到晶体的实际相位噪声,因为它处于测量的本底噪声中。Rubiola 教授很有帮助地在我们的绘图上提供了一个符号,表明假设我们有足够灵敏的设备,我们期望在哪里看到相位噪声功率谱密度:

从图中可以看出,我们的本底噪声至少高出 10-15 dBc/Hz,无法测量 Wenzel 振荡器或放大器。事实上,我们自己的测量结果表明,本底噪声与 ADM-5974CH等标准放大器相当 ,比 APM-6849等低相位噪声放大器高 15 dB 。